

技术参数:
| 材料: | |
| -阀体 | 球墨铸铁 EN-GJS-400-15 |
| -阀芯 | 不锈钢 / 黄铜 |
| 237.0120-xxx-0 | |
| 密封套件 | 丁腈橡胶 |
| 最大工作压力 | 16 bar |
| 允许最大压差 | 16 bar |
| 公称压力 | PN 16 |
| 连接方式 | 法兰 EN 1092-2 |
| form B |
可提供温度控制范围: | ||||
| 05 – 15 ℃ | 35 – 43 ℃ | 57 – 66 ℃ | 74 – 82 ℃ | 93 - 103 ℃ * |
| 14 – 26 ℃ | 37 – 47 ℃ | 60 – 69 ℃ | 77 – 85 ℃ | 102 - 113 ℃ * |
| 20 – 30 ℃ | 39 – 50 ℃ | 62 – 71 ℃ | 79 – 88 ℃ | |
| 27 – 37 ℃ | 43 – 54 ℃ | 66 – 74 ℃ | 82 – 93 ℃ | |
| 29 – 40 ℃ | 51 – 60 ℃ | 68 – 78 ℃ | 85 – 96 ℃ * | |
| 32 – 41 ℃ | 54 – 63 ℃ | 71 – 79 ℃ | 88 – 99 ℃ * | |
ⓘ 连续工作的最高温度不能超过自力式温度控制阀全开温度25 ℃。
* 自力式温度控制阀最高工作温度120 ℃。
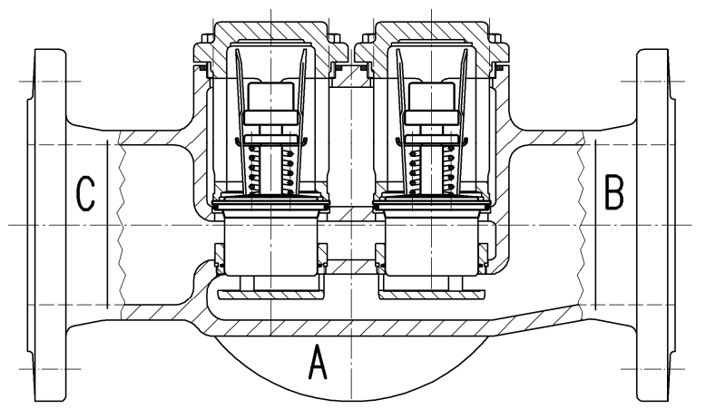
AKO自力式温度控制阀的安装位置不同作用也不同。
作为分流阀:
➣ 路径A:从电机来
➣ 路径B:去旁路
➣ 路径C:去冷却器

作为混合阀:
➣ 路径C:从冷却器来
➣ 路径B:从旁路来
➣ 路径A:去电机

路径已经标注在接口处,自力式温度控制阀可以根据需要安装在不同位置。
AKO自力式温度控制阀适用于稳定介质温度(例如:水、油等),在应用中可以用作分流阀,也可以用作混合阀。该自力式温度控制阀的优点是免维护、操作方便、耐压能力强。更换阀内件无需把自力式温度控制阀从管道上拆下,错误的安装除外。自力式温度控制阀可以安装在任何位置。典型应用为水冷系统与油冷系统。
AKO自力式温度控制阀内部配有容易更换的充蜡阀芯,阀芯的个数取决于自力式温度控制阀的公称通径。该阀芯通过吸收周围介质的温度,随即开始膨胀,改变自身长度(阀门行程),从而改变阀门路径。AKO自力式温度控制阀不需要任何辅助能源,随着温度上升,超过了该自力式温度控制阀的开启温度,阀门内部的管状滑块随即被从阀座上提起,路径A到C的通道打开,与此同时,路径A到B的通道被同比例关闭。通道的开闭变化与流经自力式温度控制阀介质的温度变化成比例。

AKO Regelungstechnik GmbH & Co KG