

技术参数:
| 平衡单座阀 | 两通阀 |
| 作为开启阀 | |
| 材料: | |
| -阀体 | 1.4308 |
| -阀内件 | 不锈钢 |
| 密封套件 | 丁腈橡胶 |
| 最大工作温度 | 120 ℃ |
| 最大工作压力 | 25 bar |
| 允许最大压差 | 25 bar |
| 公称压力 | PN 25 |
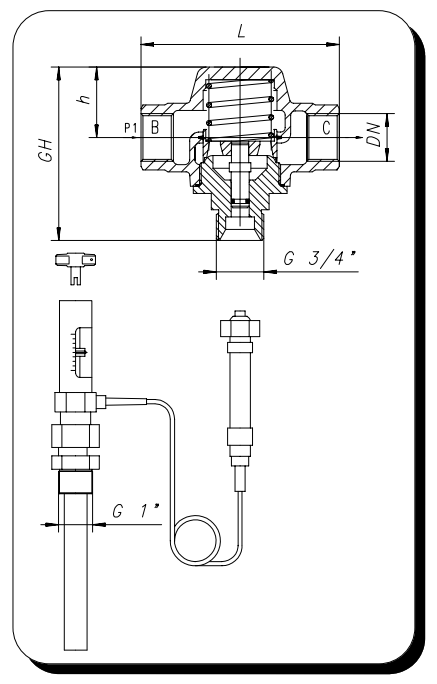
| 连接方式 | 内螺纹 G 1/2 - G 1 1/4 " |
| 也可选择 | NPT |
※ 欲选择连接合适的外置热传感器,请参见数据表 230.xxxx-xxx。
AKO外置传感器温控阀适用于稳定介质温度(例如:水、油等)。该外置传感器温控阀的优点是免维护、操作方便、耐压能力强。通常用于高温设备和冷却设备内的温度调节,典型应用为水冷系统与油冷系统。外置传感器温控阀适用于液体和不可燃物气体。用于特殊用途或特殊介质,请告知。
AKO外置传感器温控阀的控制是通过温度影响下热传感器膨胀液体积的变化来实现的。随着温度的升高,温控阀逐步打开,温控阀的开度与热传感器吸收的热载成比例。

※ 在此表中,您看到的是外置传感器温控阀和热传感器的标准组合。但是,也可以将每个温控阀与其他提供的热传感器组合在一起(具体见数据表BT230.xxxx/BT231.xxxx)。
※ KR值表示温差为1°K时热传感器的行程。
AKO Regelungstechnik GmbH & Co KG